Контакты

Силовые приборы
Спрвочник диодов тиристоров модулей охладителей (силовые отечественные)
Диодные тиристорные симисторные оптотиристорные модули одиночные ключи полумосты
Отечественные IGBT и SFRD модули
Модули МТТ-80 МТД-80 МДТ-80 МТТ4/3 МТТ5/3
Аналоги замены диодов тиристоров
Аналоги замены IGBT модулей
Аналоги замены отечественных модулей
Справочник
Силовые выпрямительные диоды автотракторные
Силовые выпрямительные диоды
Силовые лавинные диоды
Силовые частотные диоды
Силовые частотные лавинные диоды
Силовые сверхмощные диоды
Силовые тиристоры
Силовые низкочастотные тиристоры
Высокочастотные тиристоры
Запираемые тиристоры
Оптронные тиристоры
Симметричные тиристоры
Быстродействующие тиристоры
Частотно-импульсные тиристоры
Лавинные тиристоры
Сверхмощные тиристоры
Дискретные тиристоры и триаки
Силовые тиристорные модули
Низкочастотные модули (МДД, МТТ, МДТ, МТД)
Оптотиристорные модули (МТО, МТОТО)
Тиристорные и тиристорно-диодные быстродействующие модули (МТБТБ, МДЧТБ, МТБДЧ)
Диодные быстровосстанавливающиеся модули (МДЧДЧ)
Сводная таблици силовых приборов
Блоки (модули) преобразователи питания
Продукция SEMIKRON
Продукция MITSUBISHI ELECTRIC
Продукция FUJI ELECTRIC
Продукция IXYS
Продукция TOSHIBA
Продукция Infineon/Eupec
Продукция VICOR
Продукция TYCO
Продукция TDK
Продукция SanRex
Продукция SANKEN
Продукция POWEREX
Продукция LUCENT
Продукция IR
Продукция HITACHI
Продукция ERICSSON
Продукция DENSEILAMBDA
Продукция DATEL
Продукция COSEL
Продукция AT&T
Продукция ASTEC
Продукция ARTESYN
Продукция ABB


 

МАРКИРОВКА ОХЛАДИТЕЛЕЙ ДИОДОВ ТИРИСТОРОВ МАРКИРОВКА ОХЛАДИТЕЛЕЙ ДИОДОВ ТИРИСТОРОВ

 пример

О     253     55                  УХЛ

1      2      3      4      5      6

 

1   О – буква, характеризующая принадлежность охладителя к воздушной системе охлаждения

2   Порядковый номер модификации конструкции

3   Условное обозначение размера (диаметра отверстия под монтажный винт прибора или диаметра контактной поверхности, или диаметра окружности расположения отверстий для монтажа)

4   Условное обозначение конструктивного исполнения

5   Длина охладителя, мм

6   Климатическое исполнение klimaticheskoe_ispolnenie_tiristor_diod_UHL_Т

Расшифровка климатических исполнений klimaticheskoe_ispolnenie_tiristor_diod_UHL_Т


Стандарт по макроклиматическому районированию, условиям эксплуатации, хранения и транспортирования изделий в части воздействия климатических факторов внешней среды, принятый на территории РФ, и определённый в ГОСТ 15150-69.


Изделия маркируются цифрами и буквами, например: д161-160-12 УХЛ4


где УХЛ.4 - предназначено для эксплуатации в районах с умеренным и холодным климатом, в закрытых, отапливаемых или охлаждаемых и вентилируемых производственных и других помещениях.


Буквенные обозначения (обозначает климатическую зону).


[У] - эксплуатация в районах с умеренным климатом. 
[УХЛ] - эксплуатация в районах с умеренным и холодным климатом. 
[ТВ] - эксплуатация в районах с влажным тропическим климатом. 
[ТС] - эксплуатация в районах с сухим тропическим климатом. 
[Т] - эксплуатация в районах как с сухим, так и с влажным тропическим климатом. 
[О] - эксплуатация во всех макроклиматических районах, кроме района с очень холодным климатом (общеклиматическое исполнение). 
[М] - эксплуатация в районах с умеренно-холодным морским климатом. 
[ТМ] - эксплуатация в районах с тропическим морским климатом. 
[ОМ] - эксплуатация в районах как с умеренно-холодным, так и тропическим морским климатом. 
[В] - эксплуатация во всех макроклиматических районах, кроме макроклиматического района с очень холодным климатом (всеклиматическое исполнение). 
[ХЛ] - эксплуатация в макроклиматических районах с холодным климатом.


Цифровые обозначения (означает категорию размещения).


[1] - на открытом воздухе (воздействие совокупности климатических факторов, характерных для данного макроклиматического района). 
[2] - под навесом или в помещениях, где колебания температуры и влажности воздуха несущественно отличаются от колебаний на открытом воздухе и имеется сравнительно свободный доступ наружного воздуха. Например, в палатках, кузовах, прицепах, металлических помещениях без теплоизоляции, а также в оболочке изделия категории 1. 
[3] - в закрытых помещениях с естественной вентиляцией без искусственно регулируемых климатических условий, где колебания температуры и влажности воздуха и воздействие песка и пыли существенно меньше, чем на открытом воздухе, например,  в металлических с теплоизоляцией, каменных, бетонных, деревянных помещениях (отсутствие воздействия атмосферных осадков и влаги, прямого солнечного света). 
[4] - в помещениях с искусственно регулируемыми климатическими условиями, например, в закрытых отапливаемых или охлаждаемых и вентилируемых производственных и других, в т. ч. хорошо вентилируемых подземных помещениях (отсутствие воздействия прямого или рассеянного солнечного излучения, атмосферных осадков, ветра, песка, пыли наружного воздуха и конденсации влаги). 
[5] - в помещениях с повышенной влажностью (например, в не отапливаемых и невентилируемых подземных помещениях, в т. ч. шахтах, подвалах в почве, в корабельных и других помещениях, где возможно длительное наличие воды или присутствует частая  конденсация влаги на стенах и потолке).


Внимание! Не допускается эксплуатация тиристоров таблеточной конструкции в несжатом состоянии

Замечания по эксплуатации приборов таблеточной конструкции

Таблеточная (прижимная) конструкция силового полупроводникового прибора создана с целью повышения его стойкости к термоциклическим воздействиям, т.к. не имеет паяных и сплавных соединений, что дает возможность внутренним элементам с различными температурными коэффициентами расширения перемещаться независимо друг от друга. Однако, если силовой полупроводниковый прибор находится в свободном состоянии, такой конструкцией не обеспечивается надежное электрическое соединение внутренних элементов между собой – возможно даже полное отсутствие контакта. Тестирование и эксплуатация силовых полупроводниковых приборов таблеточного типа недопустимы без применения устройств, создающих внешнее регламентируемое прижимное усилие. Любое воздействие электрическим напряжением на прибор, находящийся в несжатом состоянии, приводит к разрушению полупроводникового кристалла или наносит повреждения, существенно сокращающие срок его службы. Величина осевого усилия сжатия является одним из параметров силового полупроводникового прибора и приведена в таблице, содержащей все электрические параметры приборов (столбец «F, кН» (прижимное усилие)). Для того, чтобы выйти на страницу, содержащую параметры силовых полупроводниковых приборов, необходимо открыть страницу с ценами на эти приборы и перейти по ссылке «Полная таблица», которая расположена в тексте над таблицей. Также на искомуюстраницу можно выйти и со станицы, содержащей описание конкретного силового прибора (ссылка «Таблица с характеристиками», расположенная внизу страницы).

         Наиболее подходящим устройством, обеспечивающим необходимое прижимное усилие, является стандартный охладитель. Его конструкция обеспечивает равномерное распределение усилия по всей поверхности электродов силового полупроводникового прибора и не создает их перекосов.

      С указаниями по монтажу охладителей Вы можете ознакомиться ниже

Указания по монтажу охладителей диодов тиристоров

         В данном разделе рассматривается вопрос установки на охладитель силовых полупроводниковых приборов таблеточной (прижимной) конструкции. Установка на охладитель силовых полупроводниковых приборов штыревой конструкции, как правило, не вызывает затруднений (необходимо просто обеспечить требуемый крутящий момент, который приведен в характеристиках силового прибора).

Убедитесь, что контактные поверхности охладителя и силового прибора не имеют шероховатостей. Силовые приборы и охладители, контактные поверхности которых имеют вмятины и щербины, использовать нельзя. Если у Вас возникнут сомнения в гладкости (неплоскости) контактных поверхностей, лучше воздержитесь от применения таких изделий. Все это может привести к быстрому выходу силового полупроводникового прибора из строя. 

         Внимательно ознакомьтесь с конструкцией охладителя и порядком сборки.

Контактные поверхности охладителя, тоководов и силового прибора протрите бязью, смоченной спиртом.

         Соберите охладитель, вручную подтянув гайки (болты).

         Каждый охладитель имеет одну или две траверсы, при помощи которых обеспечивается требуемое усилие сжатия. Величина усилия сжатия определяется по изгибу траверсы. Зависимость усилия сжатия от изгиба траверсы приведена в таблице:

 

Расстояние

между

центрами

отверстий

траверс D(мм)

L(мм)

Значение изгиба траверсы h (мм) при усилии сжатия.

 

6 кН

8 кН

10 кН

15 кН

22 кН

24 кН

26 кН

 

Траверса сечением 10 х 25

72

 

80

98

116

50

 

50

70

70

0,47

(0,26)

-

-

-

-

 

0,17*

0,23

0,29

-

 

0,20*

0,28

0,37

-

 

-

0,43

0,54

0,28**

-

 

-

-

0,40**

-

 

-

-

0,43**

-

 

-

-

0,47**

Примечания: 1. для траверсы размером 6 х 25 значение изгиба приведено в скобках;

                        2. для траверсы размером 8 х 25 значение изгиба отмечено одной звездочкой;

                        3. значение изгиба, отмеченное двумя звездочками, указано для охладителей, имеющих две траверсы.

           Метод измерения изгиба траверсы проиллюстрирован на рисунке:

Метод измерения изгиба траверсы проиллюстрирован

 

D – расстояние между центрами отверстий траверсы.

L – расстояние между ножками измерительной скобы.

h – изгиб траверсы.

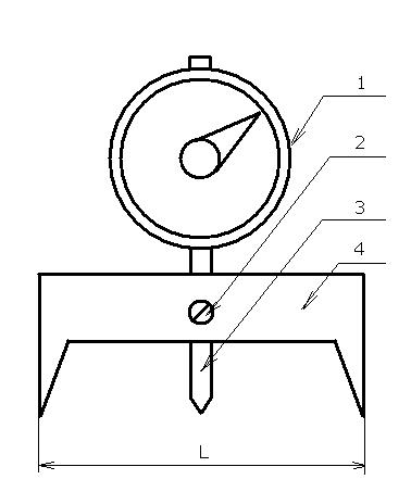
           Рисунок варианта приспособления для измерения изгиба траверсы:

 

Рисунок варианта приспособления для измерения изгиба траверсы: ТИРИСТОР МИНСК

  1 – индикатор часовой типа ИЧ-10 (ИЧ-0,5) ГОСТ 577-68.

2 – фиксирующий винт.

3 – подвижная ножка индикатора.

4 – металлическая измерительная скоба.

L – расстояние между ножками измерительной скобы.

 

         Установите приспособление для измерения изгиба траверсы так, чтобы ножка индикатора находилась по центру траверсы. Стрелку индикатора установите на отметку «0». Подтягивайте гайки (болты) поочередно на четверть оборота до тех пор, пока изгиб траверсы не достигнет значения, приведенного в таблице.

         После сборки проверьте прямое падение напряжения, повторяющееся напряжение, отпирающий ток и напряжение управления при температуре 25…35 град. Цельсия по методикам технических условий на приборы.